 |
|
| 专利名称: |
一种锆石微量元素及锆石/岩浆微量元素分配系数测量方法 |
| 专利名称_英文: |
|
| 专利类别: |
发明专利 |
| 申请号: |
2012105599104 |
| 专利号: |
ZL201210559910.4 |
| 申请日期: |
2012-12-21 |
| 发明人: |
郝佳龙,杨蔚,张建超,林杨挺 |
| 其他发明人_英文: |
|
| 国外申请日期: |
|
| 国外申请方式: |
|
| 国外申请方式_英文: |
|
| 专利授权日期: |
2015-03-18 |
| 缴费情况: |
|
| 缴费情况_英文: |
|
| 实施情况: |
|
| 实施情况_英文: |
|
| 专利权人: |
中国科学院地质与地球物理研究所 |
| 其他备注_英文: |
|
| 专利证书号: |
|
| 专利摘要: |
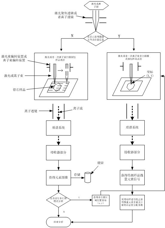
本发明公开了一种锆石微量元素及锆石/岩浆微量元素分配系数测量方法,其步骤为:用激光或一次离子束扫描样品表面获得微量元素及基底元素图像;通过获得到的微量元素的图像信息确定分析位置,偏转激光束或一次离子束到所选择的分析位置,以非扫描模式进行对锆石的微量元素的含量的测量以及对岩浆玻璃的微量元素的含量的测量。 |
| 专利摘要_英文: |
|
| 国外授权日期: |
|
|
 |
|