
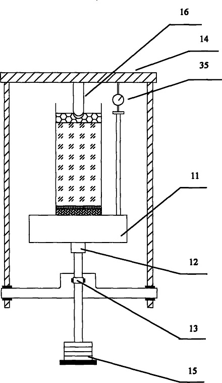
一种非饱和土体定水头垂直渗透量测装置,其特征是该装置包括瓶塞(1),集水瓶(2),第一排气口(3),第二排气口(4),第三排气口(5),第一阀门(6),第二阀门(7),第三阀门(8),第四阀门(9),第五阀门(10),水箱(11),固定栓(12),转动轴(13),加压框架(14),砝码(15),加压轴(16),第一渗流管(17),第二渗流管(18),顶帽(19),渗流桶(20),透水石(21),下底座(22),第一取样口(23),第二取样口(24),第三取样口(25),第六阀门(26),第七阀门(27),第八阀门(28),第一监测口(29),第二监测口(30),第三监测口(31),第九阀门(32),第十阀门(33),第十一阀门(34),位移计(35),连通管(36)和试样(37)。该装置测量精度高,使用方便,满足样品加载条件下定水头垂直渗透控制要求,可以直接测定砂土、粉土、粘土等多孔介质的渗透特性参数。