
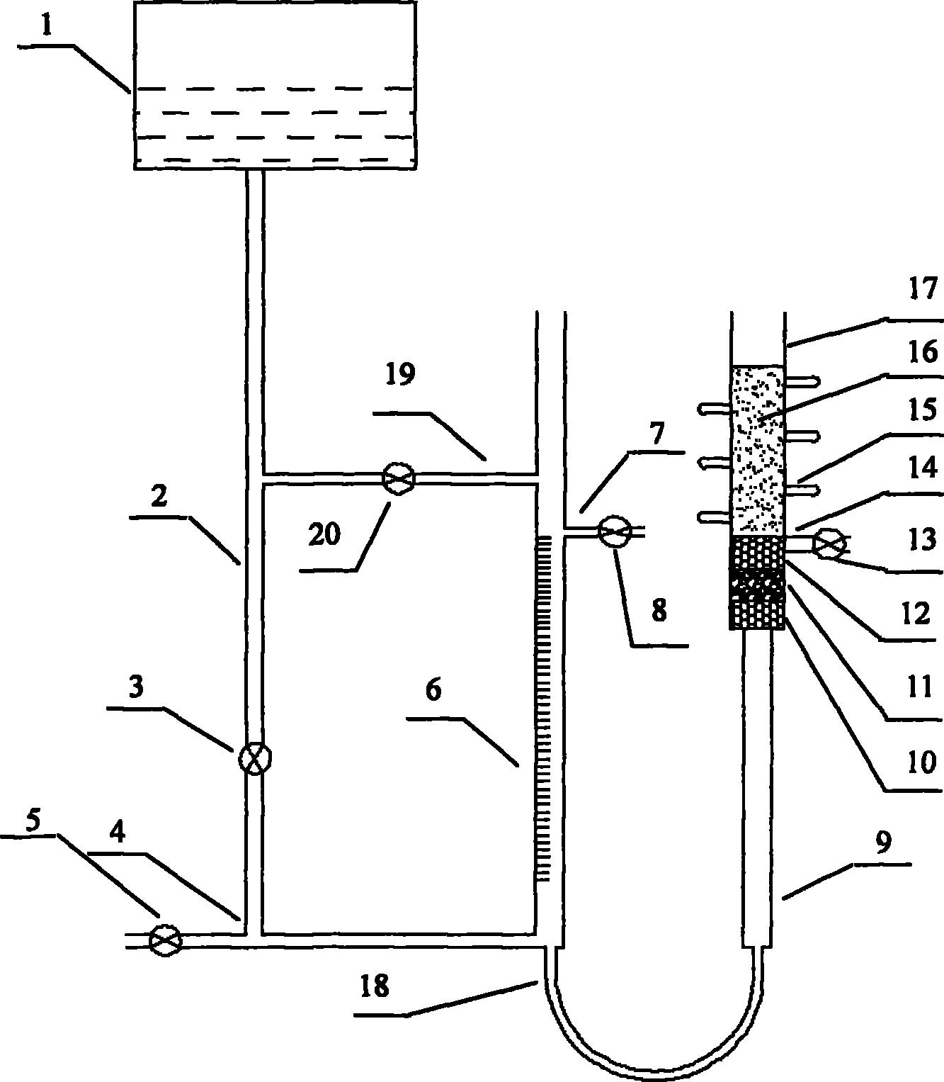
一种量测多孔介质毛细水上升高度与速率的试验装置,其特征是该装置包括水箱(1),下水管(2),下水管开关(3),三通接头(4),三通开关(5),测压管(6),溢水管(7),溢水管开关(8),毛细管(9),下透水石(10),粗砂(11),上透水石(12),排气管开关(13),排气管(14),取土孔塞(15),试样(16),试样筒(17),塑料管(18),补水管(19),补水管开关(20)。该测量方法所用仪器制造简单,测量精度高,使用方便,满足样品毛细水上升高度控制要求,可以直接测定各种多孔介质包括砂、砂土、粉土的毛细水上升高度与速率等参数,可用于土木工程中遇到的各种多孔介质毛细水上升高度与速率等参数的室内或现场测试。 |