贵阳分部广州分部
网站地图联系我们所长信箱建议留言内部网English中国科学院
 
 
首页概况简介机构设置研究队伍科研成果实验观测合作交流研究生教育学会学报图书馆党群工作创新文化科学传播信息公开
  科研成果
  您现在的位置:首页 > 科研成果 > 专利
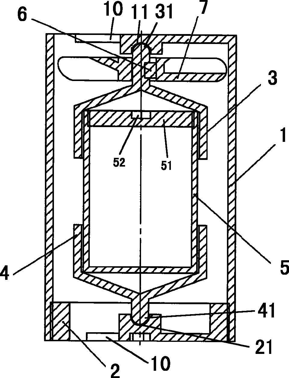
专利名称: 一种用于快中子辐照自动旋转的装样装置
专利名称_英文:
专利类别: 发明专利
申请号: 2011103617550
专利号: ZL201110361755.0
申请日期: 2011-11-15
发明人: 杨列坤
其他发明人_英文:
国外申请日期:
国外申请方式:
国外申请方式_英文:
专利授权日期: 2014-01-08
缴费情况:
缴费情况_英文:
实施情况:
实施情况_英文:
专利权人:
其他备注_英文:
专利证书号:
专利摘要:

  一种用于快中子辐照自动旋转的装样装置,其包括:一端为可拆卸的外筒,其上、下两端面开有多个扇形孔,以保障水流顺畅;外筒内部设有一内罐体,该内罐体为带底筒状,其开口的一端设有一盖;内罐体的两端分别套在上旋转盖及下托盘中,上旋转盖支撑在外筒的上端面内,下托盘支撑在外筒的底端内;上旋转盖的轴杆上固定有叶轮,由上旋转盖及下托盘的支撑以及叶轮的转动使内罐体在通过外筒两端扇形孔的水流作用下旋转。本发明解决了样品快中子照射横向不均匀问题,且加工简单,使用方便,不会对反应堆造成安全问题。本发明照射后没有放射性,可重复使用。

专利摘要_英文:
国外授权日期:

地址:北京市朝阳区北土城西路19号 邮 编:100029 电话:010-82998001 传真:010-62010846
版权所有© 2009 中国科学院地质与地球物理研究所 备案序号:京ICP备05029136号