目前,材料科学和地球科学的显微学研究已经步入纳米尺度和原子尺度水平。其中,与之相关的重要分析仪器包括透射电子显微镜(简称透射电镜,TEM)和原子探针层析成像显微镜(简称原子探针,APT)。透射电镜具备较强的综合分析能力,能在纳米和原子尺度水平揭示材料的晶体学结构、主量成分、原子占位和元素价态等信息。然而,由于透射电镜的成分分析是基于能谱仪(EDS)和电子能量损失谱仪(EELS),因此无法进行微量元素的分析,且难以测定各个元素在三维空间的分布状态。原子探针具备亚纳米尺度空间分辨率和对所有元素相同灵敏度的优势,能够在三维空间精确地重构复杂材料中原子的位置、主微量元素分布以及同位素信息,广泛应用于金属及其合金,地质材料、生物材料、电池材料和半导体等领域。不过,原子探针仅能表征材料的成分信息,无法提供微观结构和晶体学信息。
因此,近年来逐步发展出了透射电镜—原子探针原位分析方法,该技术是利用特制样品台,实现同一样品的透射电镜和原子探针静态原位测试,获得材料的衍衬像、晶体结构,原子占位、元素价态、同位素和元素三维空间分布等综合信息。此外,还能基于透射电镜的衬度像和主量成分校准原子探针的三维数据,评估原子探针结果的真实性(原子探针实验属于有损分析,无法进行数据的重复测试和验证)。要实现TEM-APT原位分析,能适配不同仪器测试的技术方案和样品极为关键。目前,初步的技术方案是将透射电镜样品杆尖端改造成能夹持铜管进而夹持电解抛光法制备的针状样品,或者是利用离合式T型样品台固定载有针状样品的TEM金属载网,然后依次在TEM和APT进行转移和分析。然而,在实际进行TEM-APT原位测试时,上述方案存在以下问题:(1)针对透射电镜样品尖端改造的方案受限于单一型号,难以适配不同型号的透射电镜,且仅适用于能电解抛光的金属材料,不适于矿物材料等绝缘样品。(2)离合式T型台为简易样品台,在该装载位置安装/卸载夹持针状样品的TEM金属载网时难以保持平稳,存在导致脆弱的针状样品弯曲、损坏的风险。另外,精密仪器的样品台价格昂贵,鉴于实验的多样化发展和降本增效的需求,对于同时实现常规APT测试和TEM-APT原位测试的多功能样品台装置研发也极为迫切。
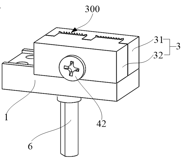
有鉴于此,中国科学院地质与地球物理研究所唐旭高级工程师及合作者提出了适用于透射电镜和原子探针原位实验以及多功能测试的样品台技术方案。该技术方案包括:支撑台,其包括基体和底柱;该基体具有第一级阶梯层和第二级阶梯层;底柱在基体下方并自上而下设有第一底柱段和第二底柱段,第一底柱段的径向尺寸大于第二底柱段(起稳定作用),第二底柱段的横截面为D形,用于定向匹配APT仪器的样品座。金属压片,其第一方面能够固定至所述第一级阶梯层,第二方面抵接至设置于所述第二级阶梯层的、搭载针状样品的硅片(图1和图4),能够实现常规的原子探针实验分析(图1)。样品搭载台组件,其包括凹型样品台和凸型固定台,能够设置于所述基体的第二级阶梯层,并通过第三紧固件固定连接;所述凹型样品台,其上形成有至少一个凹槽安装位,所述凹槽安装位的横截面近似于倒置的等腰梯形,其中等腰梯形的腰为圆弧线,凹槽安装位底部为平面,与底部垂直的面为竖向面;所述凸型固定台,其上形成有能够与凹槽安装位相适配的凸出端,能够稳定滑入/滑出所处凹槽安装位,并与竖向面配合,以固定搭载有针状样品的TEM金属载网(图2,图3和图5)。针状样品在透射电镜中完成分析后,将支撑针状样品的金属载网固定于样品搭载台组件的凹槽安装位,然后通过底柱固定于原子探针底座上,从而实现同一样品的透射电镜和原子探针静态原位分析,进而建立材料的成分与晶体结构及性能之间的关系。

图1

图2

图3

图4 硅片及硅柱上针状样品的扫描电镜图像

图5 金属载网及梳齿上针状样品的扫描电镜图像
有益效果:
(1) 该技术方案通过凹槽安装位平面部分与两侧圆弧腰的配合,能够稳定支撑TEM金属载网,使得梳齿上的针状样品垂直于原子探针的位敏探测器,有效地避免了针状样品弯曲和损坏,还确保了测试结果的准确性。
(2)多功能样品台既能实现常规的原子探针分析,又能搭载支撑针状样品的金属载网,实现透射电镜—原子探针原位分析,有效降低了成本。
(3)通过1个紧固件轴向连接凹型样品台和凸型固定台,能够确保安装和卸载过程中2个TEM金属载网受力均匀,避免了在不同仪器之间转移时脆弱针状样品的损坏。
研究成果获得国家知识产权局专利授权。(唐旭,王碧雯,谷立新,李秋立,李金华. 透射电镜和原子探针原位测试多功能样品台.中国发明专利:CN 119199183 B. 2025;唐旭.透射电镜和原子探针原位分析样品台. 中国实用新型专利:CN 223401562 U. 2025)。